Our Patented Design
Say goodbye to worrying about keeping your sneakers safe and clean during transit. Our patented sneaker travel bag offer the perfect combination of functionality and luxury, with specialized compartments to protect and separate your sneakers from the rest of your belongings.
Patent No. 10925364
3-5 Pairs of Shoes
Never stress about where to put your shoes when traveling.
TSA Approved
Carry your most valued items right beside your entire trip

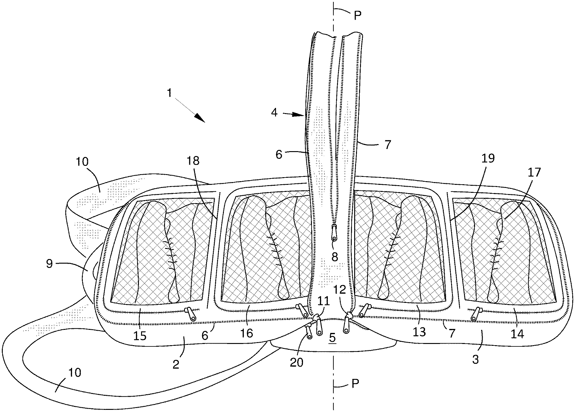
Let me present to you the ultimate sneaker travel backpacks that are set to revolutionize your travel experience. These backpacks are more than just your regular bags; they are designed to cater to the unique needs of sneaker enthusiasts like you. Our Sneaker Travel Bags are designed with five individualized padded compartments, ensuring your beloved sneakers stay protected and pristine throughout your journey.
Let me present to you the ultimate sneaker travel backpacks that are set to revolutionize your travel experience. These backpacks are more than just your regular bags; they are designed to cater to the unique needs of sneaker enthusiasts like you. Our Sneaker Travel Bags are designed with five individualized padded compartments, ensuring your beloved sneakers stay protected and pristine throughout your journey.

Signature Bags

All of our Signature Bags including our Leather Rollers and our XL design can fit in the overhead bin of every major airline including Spirit, Allegiant, Southwest, Delta, and many others.
Sneaker Travel Bag Size 22 x 14 x 9 inches
Individualized Compartments Size: 9.5 W x 14 H x 5 D
XL Sneaker Travel Bag Size: 23 x 15 x 10 inches
Individualized Compartments Size: 11 W x 15 H x 5 D
Have peace of mind when traveling with your prized sneakers and other personal items without fear of smudges and damages or misplacing loose items.
All of our Signature Bags including our Leather Rollers and our XL design can fit in the overhead bin of every major airline including Spirit, Allegiant, Southwest, Delta, and many others.
Sneaker Travel Bag Size 22 x 14 x 9 inches
Individualized Compartments Size: 9.5 W x 14 H x 5 D
XL Sneaker Travel Bag Size: 23 x 15 x 10 inches
Individualized Compartments Size: 11 W x 15 H x 5 D
Have peace of mind when traveling with your prized sneakers and other personal items without fear of smudges and damages or misplacing loose items.

FAQ
Our Sneaker Travel Bags can hold up to 5 pairs of sneakers up to a size 13 and up to size 17 with our XL design.
With 5 individualized compartments inlcuding a completely seperate shoe compartment on the bottom you can decide in what order to pack your beloved sneakers and your other important travel belongings.
Yes. Most major airlines like Spirit, Allegiant, Southwest and Delta allow for shoes in your carry on sneaker travel bag as long as the bag fits in the overhead bin or beneath your seat.
Who wants to have to bring a separate bag for carrying your prized sneakers and leather dress shoes? Our Sole Premise Sneaker Travel Bags allow for up to 5 pairs of shoes PLUS a few changes of clothes. Mutiple interior pockets for your laptop, passport, phone and other valuable travel items.





















































































